品牌選卓信立輥跑偏開關GHPK-2-12-30糧倉跑偏開關
由于產品型號眾多,我司各種電氣規格型號齊全,有任何需求可以與我公司銷售人員聯系,生產各種規格型號的跑偏開關、拉繩開關、傾斜開關、打滑開關、失速開關、溜槽堵塞開關、聲光報警器、限位開關、磁性開關、撕裂開關、料流開關等產品,產品適用范圍廣,用途多,產品銷售國內外100多個國家和地區,銷售電話:15163766288(微信同號)
山東品牌選卓信立輥跑偏開關GHPK-2-12-30現貨
遼寧品牌選卓信立輥跑偏開關GHPK-2-12-30規格齊全
陜西廠價直銷
兩級跑偏開關主要用于輸送機膠帶跑偏檢測,本系列跑偏開關具有兩級動作功能。一級動作用于報警,二級動作用于自動停機。膠帶機在運行中,當膠帶跑偏且與本開關立輥接觸時,立輥自轉,若跑偏量繼續加大,則擠壓立輥發生偏移。 當立輥偏轉角度超過12°時,一級開關動作,輸出(報警信號)。 當立輥偏轉角度超過30°時,二級開關動作,輸出(停機信號)。 一級開關信號用于報警,如果將此信號與跑調整裝置相接,即可實現不停機狀態下的跑偏自動調整。 二級開關信號用于停機,將此信號接至控制線路中,即可實現重度跑偏狀態下的自動停機。 當故障排除后,膠帶離開立輥正常運轉時,立輥可自動復位。 兩級跑偏開關為了適應戶外條件下長期使用,本產品均采用整體密封,內部金屬零件進行鍍鋅純化處理,外部零件除殼體外均做多層光亮鍍鉻,殼體為鑄鋁制造,表面采用靜電噴涂技術處理,適宜在惡劣環境下使用。 兩級跑偏開關采用鋁合金精密壓鑄殼體、強度高、重量輕; 外殼防護等級達IP65, 密封性好,防水、防塵,可在惡劣環境中長期工作; 觸點容量大、動作靈敏、可靠,防止膠帶跑偏而造成物料溢出等故障。當膠帶發生跑偏時,膠帶邊緣帶動立棍旋轉并擠壓立棍使之傾斜。若立棍傾斜 大于動作角度時開關便發出一組信號用于警告,若立棍傾斜大于二級動作角度時開關便發出另一組信號用于停機。膠帶機恢復正常運行后,立棍自動復位
技術參數
環境溫度:-30℃~+60℃
相對濕度:不大于85
觸點數量:2組開關
觸點容量:380V AC
動作角度:12-30/10-45/25-35/15-45等
極限角度:70⪚
復位方式: 自動復位
可靠性:>106
防護等級:IP65
參考重量:2KG
適用范圍
兩級跑偏開關用于常規皮帶輸送機:地下、索道支撐皮帶輸送機:輪船裝卸系統;堆垛/取料輸送機;傾斜和梭式輸送機;起重機、挖掘機,起重臂限位:裙邊給料機/輸送機:重型極限開關檢測膠帶的跑偏量,是實現膠帶機控制的自動和停機的保護裝置。廣泛用于冶金、煤炭、水泥建材、采礦、電力、港埠、冶金、化工等領域的各種帶式輸送設備。
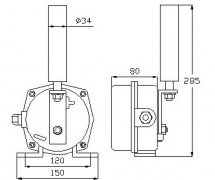
結構示意圖參考

安裝和調整
1.跑偏開關設在輸送帶兩側,立輥應與輸送帶邊平面垂直,并使輸送帶兩邊位于立輥高度1/3處。
2.跑偏開關立輥與輸送帶正常位置的間距宜為50~100mm。
3.跑偏開關數量應根據輸送機長度、類型及布置情況進行確定。一般應在輸送機頭部、尾部、凸弧段、凹弧段和在輸送機中間位置進行設置。(注:當輸送機較長時,在輸送機中間位置可每隔30~35米設1對)
4.跑偏開關應通過安裝支架與輸送機中間架連接,開關支架應在輸送機安裝完成后與輸送機機架,跑偏開關與跑偏開關支架用螺栓固定。
山東卓信科技銷售跑偏開關: 上海、北京、蘇州、溫州、深圳、杭州、天津、南京、廣州、無錫、安徽、澳門、北京、重慶、福建、廣東、甘肅、廣西、貴州、河北、黑龍江、河南、湖南、山東、海南吉林、江蘇 江西 遼寧 寧夏 青海 上海 四川 山東 山西 陜西 天津 臺灣 西藏 香港 新疆 云南 浙江 蘭州、張掖、武威、嘉峪關、天水、酒泉、平涼、定西、烏魯木齊、石河子、吐魯番、塔城、克拉瑪依、昌吉、哈密、阿勒泰、唐山、石家莊、保定、邯鄲、廊坊、秦皇島、滄州、衡水、邢臺、張家口、濟南、青島、淄博、煙臺、濟寧、濰坊、威海、泰安、濱州、萊蕪
吹氣型熱電偶WRCK-191,WRCK-102,WRCK-122,WRCK-132,WRCK-182,WRCK-188,WRCK-192,WRCK2-121,WRCK2-131,WRCK2-122,WRCK2-132,WREK-201,WREK-221,DDP-LJ2兩級跑偏開關適用于皮帶輸送機,能使皮帶輸送機在皮帶跑偏將導致嚴重掛邊磨損甚至發生撕裂事故前就發出報警信號以及進一步的自動停車。 能及時有效的保護設備安全、避免事故擴大化,達到保障生產、保護設備的目的。另外由于信號可發送至控制系統,方便實現工廠自動化控制,因此又可達到減員增效,集中控制,利于生產與調度的目的。,WREK-231,WREK-281,WREK-291,WREK-202,WREK-222,WREK-232,WREK-282,WREK-292,WREK2-221,WREK2-231,WREK2-222,WREK2-232,WRNK-201,WRNK-221,WRNK-231,WRNK-281,WRNK-291,WRNK-202,WRNK-222,WRNK-232,WRNK-282,兩級跑偏開關通用的安裝設計可使跑偏檢測裝置隨意安裝在輸送機縱梁頂部或底部位置;封閉、防腐、堅固的鑄鋁外殼。防護標準IP65,可在惡劣環境長期工作;兩級跑偏開關不需要在拆除動作桿下,即可拆掉蓋板進行維修;進口動作桿軸承,可長時在轉速4000轉/分下運作;動作角度12°時報警觸點動作,動作角度30°時,即為停機信號輸出。,本系列跑偏開關具有兩級動作功能。一級動作用于報警,二級動作用于自動停機。膠帶機在運行中,當膠帶跑偏且與本開關立輥接觸時,立輥自轉,若跑偏量繼續加大,則擠壓立輥發生偏移。 當立輥偏轉角度超過12°時,一級開關動作,輸出(報警信號)。 當立輥偏轉角度超過30°時,二級開關動作,輸出(停機信號)。 一級開關信號用于報警,如果將此信號與跑調整裝置相接,即可實現不停機狀態下的跑偏自動調整。 二級開關信號用于停機,將此信號接至控制線路中,即可實現重度跑偏狀態下的自動停機。 當故障排除后,膠帶離開立輥正常運轉時,立輥可自動復位。 兩級跑偏開關為了適應戶外條件下長期使用,本產品均采用整體密封,內部金屬零件進行鍍鋅純化處理,外部零件除殼體外均做多層光亮鍍鉻,殼體為鑄鋁制造,表面采用靜電噴涂技術處理,適宜在惡劣環境下使用。 兩級跑偏開關采用鋁合金精密壓鑄殼體、強度高、重量輕; 外殼防護等級達IP65, 密封性好,防水、防塵,可在惡劣環境中長期工作; 觸點容量大、動作靈敏、可靠,WRNK-292,WRNK2-221,WRNK2-231,WRNK2-222,WRNK2-232,WRCK-201,WRCK-221,WRCK-231,
拱頂熱電偶
WRCK-281,WRCK-291,WRCK-202,WRCK-222,WRCK-232,WRCK-282,WRCK-292.WRCK2-221,WRCK2-231,WRCK2-222,WRCK2-232,WREK-301,WREK-321,WREK-331,WREK-381,WREK-387,WREK-391,WREK-302,WREK-322,WREK-332,WREK-382,WREK-388,WREK2-321,WREK2-331,WREK2-322WREK2-332,WRNK-301,
![]() |









